CN202545244U[中文]CN202545244U[英文]
发明名称 --- 一种伺服双联泵
申请号-CN201220088006
申请日:2012.03.07
公开(公告)号-CN202545244U
公开(公告)日:2012.11.21
IPC分类号:F04C15/00; B29C45/17; F04C2/10
申请(专利权)人:杭州中科赛思节能设备有限公司;
发明人:刘桂林;
申请人地址:浙江省杭州市桐庐县凤川镇凤川大道322-2#;
申请人邮编:311500;
摘要:本实用新型公开了一种伺服双联泵,包括伺服电机、油泵、泵轴,所述的油泵包括前油泵和后油泵,所述的前油泵和后油泵通过连接法兰同轴连接,所述的前油泵和后油泵穿过泵轴通过固定法兰与伺服电机连接,所述的泵轴与伺服电机的轴连接。本实用新型的有益效果为:应用在注塑机上,使注塑机在工作过程中增大了流量,提高了效率,降低了能耗,节约了资源,并且安装方便,进油口和出油口在同一直线上;其次,它的安装结构大大缩小占地面积,节约了建设投资
CN202545244U[中文]翻译
権利要求書
1.一种伺服双联泵,包括伺服电机(1)、油泵、泵轴(6),其特征在于, 所述的油泵包括后油泵(3)和前油泵(5),所述的后油泵(3)和前油泵(5) 通过连接法兰(4)同轴连接,所述的后油泵(3)和前油泵(5)穿过泵轴(6) 通过固定法兰(2)与伺服电机(1)连接,所述的泵轴(6)与伺服电机(1) 的轴连接。
2.根据权利要求1所述的伺服双联泵,其特征在于,所述的后油泵(3)的 规格比前油泵(5)的规格大。
3.根据权利要求1所述的伺服双联泵,其特征在于,所述的后油泵(3)和 前油泵(5)为内啮合齿轮泵。
4.根据权利要求1所述的伺服双联泵,其特征在于,所述的泵轴(6)表面 镀铬。
说明书
一种伺服双联泵
技术领域
本实用新型涉及伺服泵,特别涉及一种伺服双联泵。
背景技术
目前市场上的注塑机使用的都是伺服单泵,但是,注塑机在工作时,随着工况不同,需要的压力及流量不同。在注塑机的储料、快速射胶、快速锁模等动作时,需要的是大流量低压力;在注塑机的慢速射胶、顶击、高压锁模、保压、开合模等动作时,需要的是高压力小流量;这样的情况下用普通的伺服单泵不能控制流量及压力,就会造成资源的浪费,增大了能耗。
实用新型内容
为了解决上述问题,本实用新型提供一种伺服双联泵。本实用新型结构优化,效率增大,能耗降低,运行稳定,使用寿命长。
本实用新型是通过以下方式实现的:
一种伺服双联泵,包括伺服电机、油泵、泵轴,所述的油泵包括后油泵和前油泵,所述的后油泵和前油泵通过连接法兰同轴连接,所述的后油泵和前油泵穿过泵轴通过固定法兰与伺服电机连接,所述的泵轴与伺服电机的轴连接。
上述的伺服双联泵,其中,所述的后油泵的规格比前油泵的规格大。
上述的伺服双联泵,其中,所述的后油泵和前油泵为内啮合齿轮泵。
上述的伺服双联泵,其中,所述的泵轴表面镀铬。
本实用新型应用在注塑机上,使注塑机在运行过程中,具有增大流量、提高效率、降低能耗、节约资源等优点,并且安装方便,进油口和出油口在同一直线上;其次,本实用新型的安装结构大大缩小占地面积,节约了建设投资。
附图说明
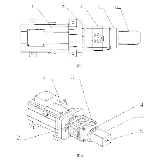
图1是本实用新型一种伺服双联泵的主视图;
图2是本实用新型一种伺服双联泵的立体结构示意图。
其中:
1 伺服电机 2 固定法兰 3 后油泵
4 连接法兰 5 前油泵 6 泵轴
具体实施方式
下面结合附图对本实用新型作进一步说明。
一种伺服双联泵,包括伺服电机1、油泵、泵轴6,所述的油泵包括后油泵3和前油泵5,所述的后油泵3和前油泵5为内啮合齿轮泵,所述的后油泵3的规格比前油泵5的规格大。
与伺服单泵系统相比,伺服双联泵系统不仅增大了流量,而且也增加了其根据工况需求自动调节流量及压力的能力,在工作过程中,它可以后油泵3和前油泵5一起工作:大压力大流量;可以后油泵3单独工作:小压力大流量;也可以前油泵5单独工作:大压力小流量。在注塑机储料、快速锁模等大流量小压力动作时,就可以用伺服双联泵系统的后油泵3即大泵来运转使其满足工况需求;在注塑机的慢速射胶、顶击、高压锁模、保压、开合模等小流量大压力动作时,就可以用伺服双联泵系统的前油泵5即小泵来运转使其满足工况需求;在注塑机快速射胶的时候,单泵系统很难达到其速度要求,容易造成物料浪费,而双联泵系统两个油泵一起运行,就加快了其速度,提高了效率,满足了其要求;因为合理调节了各个工况所需的最优化选择,就减少了因为伺服单泵系统不能调节所带来的资源浪费,在不降低工作效率的情况下降低了能耗。
上述的伺服双联泵,其中,所述的后油泵3和前油泵5通过连接法兰4同轴连接,所述的泵轴6与伺服电机1的轴连接。确保了轴的同心使泵运行平稳并减少噪声和振动。所述的后油泵3和前油泵5穿过泵轴6通过固定法兰2与伺服电机1连接,固定法兰2的设置,便于安装,并有利于运行平稳。上述的伺服双联泵,其中,所述的泵轴6表面镀铬,延长了泵轴6的使用寿命。
综上所述,仅为本实用新型的较佳实施例而已,并非用来限定本实用新型实施的范围,凡依本实用新型权利要求范围所述的形状、构造、特征及精神所为的均等变化与修饰,均应包括于本实用新型的权利要求范围。
文章来源:国家知识产权局,转载仅为科学普及和知识分享。
(0)



